Ford ha depositato un nuovo brevetto presso l’ufficio brevetti e marchi degli Stati Uniti che descrive in dettaglio un sistema di selezione del colore adattivo sviluppato appositamente per le luci delle pozzanghere. In poche parole, il sistema scansionerà l’ambiente circostante e valuterà quale livello di contrasto e scelta del colore renderebbe più facile vedere un’immagine proiettata.
Proprio come un recente avanzamento di BMW, l’idea è di rendere le luci delle pozzanghere e le informazioni che possono trasmettere più facili da vedere, indipendentemente dalle condizioni di illuminazione e dai colori dell’ambiente circostante. Non c’è alcun ovvio vantaggio pratico che questa tecnologia possa offrire: è solo qualcosa di ingegnoso che potrebbe diventare più utile man mano che alla fine vengono trasmesse informazioni più complete tramite le luci per le pozzanghere.
Il sistema proietterà come fa normalmente, facendo brillare una semplice luce o un disegno sul terreno. Quindi, poiché molte auto sono dotate di una o più telecamere a 360 gradi, l’auto utilizzerà quei sensori di immagine per eseguire l’analisi del colore. Viene catturata un’immagine iniziale della superficie su cui si proietta l’illuminazione, consentendo all’auto di determinare quale colore è dominante sul terreno.
Erba, asfalto, segnaletica orizzontale e altre variabili possono anche cambiare il colore della superficie su cui verrà proiettata la luce, e un lato dell’auto potrebbe essere parcheggiato accanto alla neve, mentre l’altro potrebbe trovarsi accanto all’asfalto. Questo sistema determinerà il colore corretto per ogni luce e il livello di contrasto necessario a quel colore affinché l’immagine sia chiaramente visibile.
Luci per pozzanghere Ford: come funziona il nuovo sistema
Per garantire che la grafica sia chiaramente visibile, l’analisi eseguita dal sistema avverrebbe prima alla luce ambientale, quindi una seconda immagine verrebbe presa sotto l’illuminazione del proiettore. Anche in questo caso, le variabili potrebbero influenzare il modo in cui viene percepita la luce, quindi il sistema potrebbe persino tenere conto delle aree negative della proiezione, dove nessuna luce risplenderebbe come altro mezzo per creare contrasto.
Il brevetto suggerisce anche che, se la tecnologia autonoma diventa fattibile, l’auto potrebbe riposizionarsi in modo da visualizzare chiaramente l’immagine, ma ciò sembra in qualche modo non necessario. Per vedere il vantaggio di questa invenzione, dobbiamo avere una visione più ampia. Ford osserva che la tecnologia esiste già per consentire ai sistemi di illuminazione delle pozzanghere di trasmettere più del semplice logo di una casa automobilistica. Kia ha persino iniziato a lavorare su un sistema di luci pozzanghera personalizzabile che può proiettare qualunque forma sia di nostro gradimento.
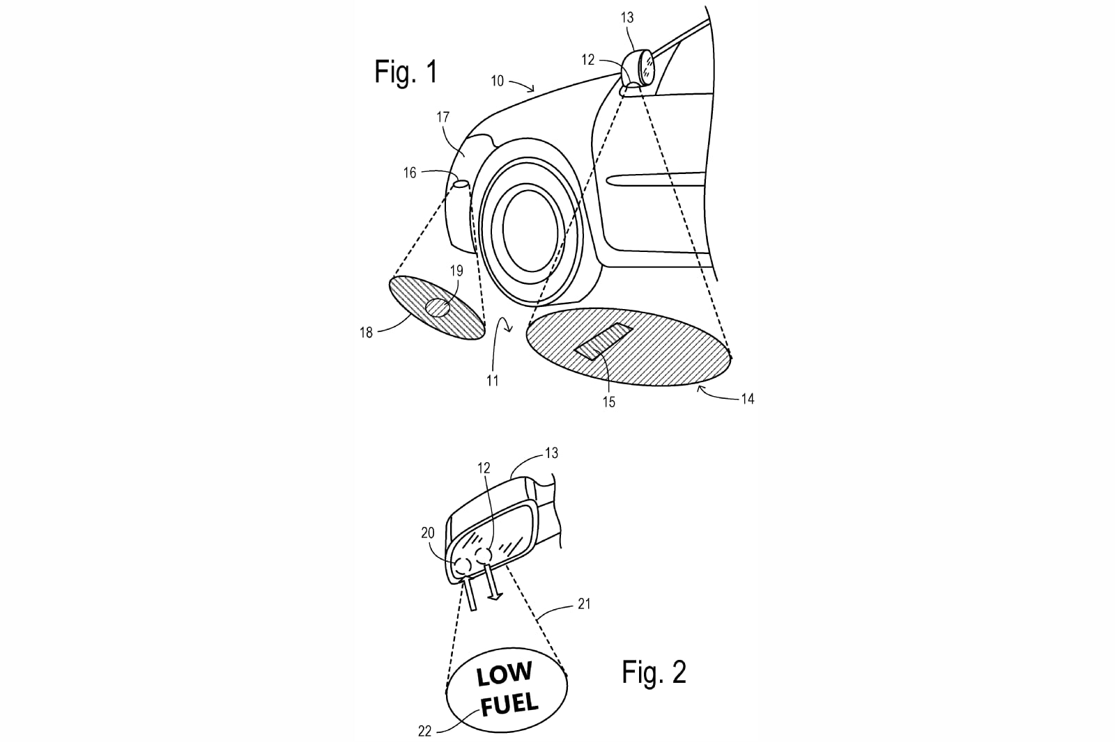
Con questo in mente, le luci della pozzanghera Ford potrebbero fornire informazioni preziose, come la temperatura dell’abitacolo, il livello del carburante (o la carica rimanente) o qualcosa del genere. Questi sono solo alcuni potenziali usi, ma siamo sicuri che Ford abbia pensato a molte altre applicazioni. Questo brevetto pone le basi per queste applicazioni e, quando Ford sarà pronta, la sua illuminazione delle pozzanghere sarà più interessante, più leggibile e più utile di qualsiasi altra cosa attualmente sul mercato. Se, alla fine, il sistema non sarà più pratico di quello che abbiamo oggi, almeno sarà un punto a favore della pubblicità.



