Nell’incessante ricerca dell’efficienza, Honda propone terminali di scarico a spirale che sembrano trecce ricce sulle auto del futuro. Per quanto strano possa sembrare, c’è almeno qualche merito in un brevetto scoperto che è stato depositato presso l’Ufficio brevetti e marchi degli Stati Uniti (USPTO).
Pubblicato il 30 marzo 2023, Honda propone una sezione del tubo di scappamento a poppa della marmitta che si sviluppa a spirale verso l’alto prima di uscire dal paraurti posteriore. La marmitta stessa è posizionata oltre la sua tradizionale posizione centrale sotto la carrozzeria, che negli schizzi di brevetto sembra piuttosto strana. Ma il ragionamento sembra piuttosto interessante: si tratta di risparmiare peso in qualsiasi cosa, da una Honda Civic al pick-up Ridgeline.
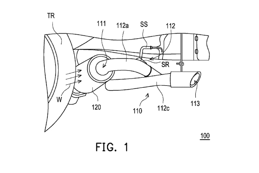
Come funzionerebbero i nuovi scarichi di Honda
Gli scarichi lunghi non sono rari. Lo scarico è una parte importante del gruppo propulsore di un’auto e il suo diametro, la lunghezza e persino la forma possono influire sulla quantità di potenza erogata da un’auto e sulla sua efficienza. Molto spesso, un terminale più lungo, ad esempio, può migliorare l’autonomia delle auto a benzina. Tradizionalmente, la lunghezza finale del tubo di scappamento a poppa della marmitta è relativamente lunga, con la marmitta posizionata centralmente.
Ma il nuovo design di Honda propone che la marmitta sia posizionata lontano dalle estremità esterne di un’auto. Questo perché Honda vuole abbandonare i paraspruzzi sullo scarico e invece lasciare che il silenziatore si raddoppi sia come elemento integrale del sistema di scarico sia come scudo per il tubo di scappamento per evitare che l’acqua venga spruzzata dalle ruote posteriori, il che potrebbe causare il surriscaldamento e la successiva rottura del tubo di scarico a contatto con l’acqua fredda a seguito dello shock termico.
Tradizionalmente, una casa automobilistica installerebbe semplicemente un paraspruzzi sulla sezione di scarico a rischio. Ma Honda sostiene che tale soluzione è troppo pesante e che ridurre i consumi, il costo e il peso tale scudo dovrebbe essere eliminato.
È un po’ melodrammatico da parte di Honda, ma la riduzione di peso è stata a lungo uno dei modi più semplici per migliorare l’efficienza. Alcune case automobilistiche che realizza auto leggere, come Donkervoort, arrivano addirittura a dire che la costruzione di auto a benzina leggere è più efficiente della costruzione di veicoli elettrici pesanti.


