Porsche continua a cercare strade alternative per preservare il futuro della 911 senza trasformarla in un modello completamente elettrico. Per il marchio di Zuffenhausen, il tema non riguarda soltanto la transizione energetica, ma anche la necessità di proteggere l’identità tecnica e culturale della sua auto più iconica. In questo scenario, la casa tedesca guarda oltre l’Euro 7 e torna a esplorare soluzioni che possano prolungare la vita del motore a combustione.
Gli ingegneri Porsche hanno riscoperto una vecchia tecnologia a base di idrogeno che potrebbe salvare i motori a benzina
Dopo aver ottenuto un’esenzione europea sull’uso degli e-fuel, Porsche sembra convinta che la progressiva uscita di scena della benzina sarà più lenta del previsto. Da qui nasce la ricerca di tecnologie capaci di rendere i propulsori termici compatibili con standard ambientali sempre più severi. Tra le ipotesi più sorprendenti emerse nelle ultime settimane c’è quella legata all’idrogeno, non come carburante principale, ma come supporto strategico per migliorare il controllo delle emissioni.
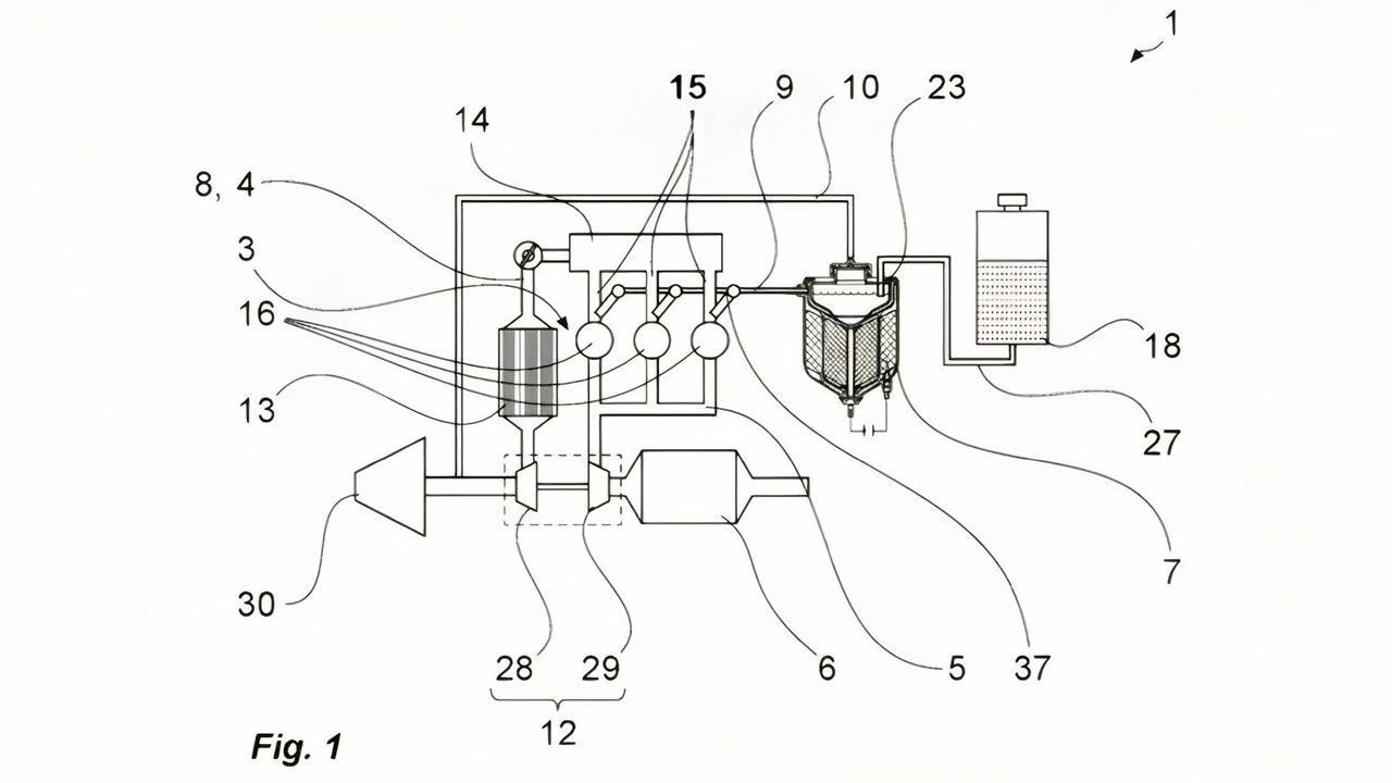
Secondo un brevetto emerso dal registro tedesco della proprietà intellettuale, Porsche starebbe lavorando a un sistema in grado di produrre idrogeno a bordo partendo dal liquido lavavetri. Una soluzione insolita, ma con un obiettivo molto preciso: preriscaldare il catalizzatore e mantenerlo alla temperatura ottimale di funzionamento, così da ridurre le emissioni nelle fasi più critiche, soprattutto all’avviamento.
Il principio tecnico si basa su un apparato di elettrolisi di Hoffmann, tecnologia nota da oltre un secolo, adattata però in chiave moderna. Il sistema produrrebbe idrogeno gassoso da utilizzare per aiutare il catalizzatore a entrare rapidamente in temperatura, evitando di ricorrere a ulteriore combustibile per ottenere lo stesso risultato. È proprio questo uno dei problemi principali dei convertitori catalitici: finché non raggiungono il corretto livello termico, la loro efficienza nella depurazione dei gas di scarico resta limitata.

I documenti indicano anche una gestione raffinata dell’intero processo. Porsche avrebbe previsto un sistema capace di anticipare l’avvio della produzione di idrogeno, in base alla previsione di utilizzo del veicolo, oltre a un’iniezione dedicata per ciascun cilindro e a un posizionamento dell’idrogeno dopo il turbocompressore, così da evitare accensioni indesiderate nel collettore. Insomma sicuramente una tecnologia interessante. Vedremo se in futuro sarà realmente impiegata dal costruttore tedesco.
