Nel pieno della rivoluzione elettrica, seppur discutibile, il mondo dei motori a combustione interna è tutt’altro che morto, anzi, continua a regalare lampi di genio ingegneristico. Un recente brevetto Porsche descrive un propulsore con una configurazione a “W” che, se mai venisse prodotto, ridefinirebbe il concetto di eccesso. Non è ben chiaro con quanti cilindri, ma l’informazione ufficiale lascia spazio a numeri “diversi”, anche se immagini e testo suggeriscono un massimo di 18 cilindri. Stiamo parlando di un potenziale motore W-18.
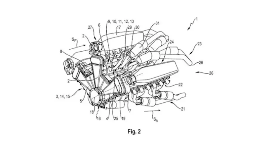
La vera notizia esaltante, oltre all’ovvio hype per un W-18 triturbo, è la sua architettura. A differenza dei celebri W-12 di Bentley o W-16 di Bugatti (che sono V-8 stretti), il design Porsche propone una vera e propria disposizione a W con tre bancate di cilindri separate, disposte con un angolo di 60 gradi l’una rispetto all’altra. Per capirci, è come se tre motori a sei cilindri in linea fossero intelligentemente fusi attorno a un unico albero motore.

Ogni bancata richiede la sua testata, il suo plenum d’aria e il suo collettore di scarico, e qui arriva la follia: Porsche afferma che è possibile montare un turbocompressore a gas di scarico per bancata, aprendo la strada a un ipotetico W-18 triplo turbo.
Porsche, con la sua consueta e chirurgica precisione, sottolinea i vantaggi concreti di questo design. L’aria può essere “aspirata direttamente in linea retta”, limitando le perdite per attrito nel flusso d’aria. Inoltre, la posizione dello scarico crea una netta separazione tra aspirazione e scarico, mantenendo temperature di aspirazione più basse. Ci sarebbe dunque un “aumento della potenza ottenibile dal motore a combustione interna a parità di cilindrata”.
Porsche garantisce che questo design aggiunge cavalli a un motore che ne avrebbe già troppi, e noi dobbiamo semplicemente fidarci, dato che i dati di cilindrata o cavalli non sono pervenuti.

Ma prima che gli appassionati inviino assegni in bianco a Zuffenhausen, è doveroso un tocco di cinismo. Le case automobilistiche brevettano continuamente idee che non vedranno mai la luce, e un Porsche W-18 triturbo si colloca saldamente nel regno dell’inverosimile. Avrebbe senso solo in un successore della 918 Spyder, ovvero, in qualcosa di incredibilmente costoso e prodotto in serie limitatissima.
